1. 密封件膜片采用 F46 或 PFA 制造,耐折次數≥ 120000 次,耐腐蝕性能與 F4 相當。
2. 采用螺桿升降結構,啟閉力矩小,平穩性好。
?
?
| 材料 |
?????? 介質溫度℃ |
材料 |
介質溫度℃ |
| 氯化聚氯乙烯(PVC-C) |
-20℃~+95℃ |
聚氯乙烯(PVC-U) |
-5℃~+45℃ |
| 增強聚丙烯(FRPP) |
-20℃~+120℃ |
均聚聚丙烯(PPH) |
-20℃~+110℃ |
| 聚偏二氟乙烯(PVDF) |
40℃~+150℃ |
|
|
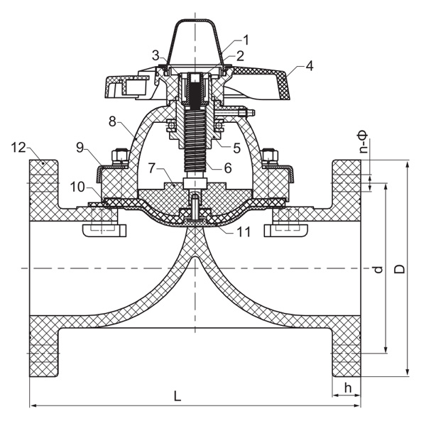
| 件號 |
零件名稱 |
材料 |
數量 |
| 1 |
透明罩 |
AS |
1 |
| 2 |
限位螺母 |
鋼/不銹鋼 |
1 |
| 3 |
擋圈 |
65Mn |
1 |
| 4 |
手輪 |
合金料 |
1 |
| 5 |
閥母 |
鍍銅∥銅 |
1 |
| 6 |
閥桿 |
鍍銅∥銅 |
1 |
| 7 |
閥瓣 |
PVDF |
1 |
| 8 |
閥蓋 |
PVC-C,PVC-U,PVDF,PPH,FRPP |
1 |
| 9 |
壓板 |
Q345/不銹鋼 |
1 |
| 10 |
橡膠墊 |
EPDM |
1 |
| 11 |
膜片 |
F46/PFA/PTFE |
1 |
| 12 |
閥體 |
PVC-C,PVC-U,PVDF,PPH,FRPP,PTFE |
1 |
?

| 規格 |
d (mm) |
D (mm) |
L (mm) |
b (mm) |
n-Ф (mm) |
| 1/2"(15) |
60 |
95 |
125 |
14 |
4-Φ16 |
| 3/4"(20) |
70 |
105 |
135 |
18 |
4-Φ16 |
| 1"(25) |
79 |
115 |
145 |
18 |
4-Φ16 |
| 1?"(32) |
89 |
135 |
160 |
18 |
4-Φ16 |
| 1?"(40) |
98 |
145 |
180 |
20 |
4-Φ16 |
| 2"(50) |
121 |
160 |
210 |
23 |
4-Φ19 |
| 2?"(65) |
140 |
180 |
250 |
24 |
4-Φ19 |
| 3"(80) |
152 |
195 |
300 |
28 |
8-Φ19 |
| 4"(100) |
191 |
229 |
350 |
29 |
8-Φ19 |